Клапаны запорные ВА 21001
клапан трубопроводное оборудование трубопроводная арматура машины и оборудование


Таблица 1 Основные материалы, температура, давление| Материальное исполнение | PN | Корпус, крышка | Шпиндель | Золотник | Сальниковое уплотнение | Температура, °С |
| С | DN15 — 40 | Сталь конструкционная углеродистая по стандарту ASTM A105 | Сталь коррозионно-стойкая 410 по стандарту ASTM A276 | Сталь коррозионно-стойкая 410 по стандарту ASTM A276 или СА15 по стандарту ASTM A217 | Терморасширенный графит (ТРГ) | от -290 до +4250 |
| DN50 — 200 | Сталь конструкционная углеродистая WCB по стандарту ASTM A216 / А216М | Сталь конструкционная углеродистая WCB по стандарту ASTM A216 / А216М или СА15 по стандарту ASTM A217 | Терморасширенный графит (ТРГ) | |||
| Нж | DN15 — 40 | Сталь коррозионно-стойкая F304 по стандарту ASTM A182 | Сталь коррозионно-стойкая 304 по стандарту ASTM A276 | Сталь коррозионно-стойкая 304 по стандарту ASTM A276 или CF8 по стандарту ASTM A351 / А351М | Терморасширенный графит (ТРГ) | от -600 до +5500 |
| DN50 — 200 | Сталь коррозионно-стойкая CF8 по стандарту ASTM A351 / А351М | Терморасширенный графит (ТРГ) |
| PN | DN | |||||||||||
| 15 | 20 | 25 | 32 | 40 | 50 | 65 | 80 | 100 | 125 | 150 | 200 | |
| 6 | 5,8/5 | 5,8/5 | 6,0/5 | 10/6 | 10/8 | 14,3/10 | 18/12 | 31/13 | 42,5/15 | 70/18 | 72/22 | 123/26 |
| 10 | 5,8/5 | 5,9/5 | 6,1/5 | 10,6/6 | 10,6/8 | 16,5/10 | 22/12 | 38/13 | 55/15 | 97/18 | 102/22 | 185/26 |
| 16 | 5,9/5 | 6,0/5 | 6,4/5 | 11,5/6 | 11,5/8 | 20/10 | 28/12 | 48/13 | 75/15 | 140/18 | 150/22 | 280/26 |
| 25 | 6,0/5 | 6,2/5 | 6,8/5 | 12,8/6 | 12,8/8 | 25/11 | 37/13 | 62/13 | 103/16 | 205/18 | 218/23 | 420/26 |
| 40 | 6,2/5 | 6,5/5 | 7,4/5 | 15,0/6 | 17,0/8 | 33,4/11 | 52/13 | 80/13 | 150/16 | 320/18 | 380/23 | 700/26 |
| 63 | 6,4 | 7,0 | 8,3 | 19,0 | 21,0 | 52 | 112 | 136 | 245 | 511 | 662 | 1505 |
| 100 | 7,0 | 7,8 | 10,0 | 26,0 | 28,0 | 75 | 146 | 201 | 375 | 860 | 1030 | 1870 |
| 160 | 7,1 | 7,5 | 16,5 | 30,0 | 32,3 | 135 | 283 | 310 | 612 | 1100 | 1600 | 2990 |
| 200 | 7,5 | 8,0 | 18,4 | 36,0 | 38,2 | 165 | 296 | 400 | 718 | 1496 | 1957 | 3842 |
| DN | 15 | 20 | 25 | 32 | 40 | 50 | 65 | 80 | 100 | 125 | 150 | 200 |
| ζ | 6,7 | 9,5 | 6,9 | 6,2 | 7,0 | 10,9 | 9,0 | 9,7 | 7,8 | 6,5 | 6,8 | 9,5 |
| Параметр | Среда | PN | |||
| 6, 10, 16 | 25, 40 | 63, 100 | 160, 200 | ||
| Максимальная скорость потока, м/с | вода | 5 | 5 | 5 | 5 |
| Пар и газ | 50 | 50 | 50 | 50 | |
| № п/п | Параметры | Обозначение | Содержание |
| 1 | Вид изделия по классификатору арматуры | 21 | клапан запорный |
| 2 | Обозначение серии | 001 | порядковый номер |
| 3 | DN | 15…200 | диаметр номинальный |
| 4 | PN | 6, 10, 16, 25, 40, 63, 100, 160, 200 | давление номинальное |
| 5 | Тип корпуса | Ф | фланцевый |
| П | под приварку | ||
| 6 | Материальное исполнение | С | см. таблицу 1 |
| Нж | |||
| 7 | Тип управления клапаном | РП | ручной привод через маховик |
| Э | электропривод | ||
| 8 | Климатическое исполнениезатворапо ГОСТ 15150– — 69 | УХЛ | умеренно-холодное, группы размещения — 1…4, тип атмосферы — I… IV |
| Т | тропическое, группы размещения — 1…4, тип атмосферы — I… IV | ||
| ТМ | тропическое морское, группы размещения — 1…4, тип атмосферы — I… IV | ||
| ТВ | тропическое влажное, группы размещения — 1…4, тип атмосферы — I… IV | ||
| 9 | Наличие блокирующегоустройства, препятствующего несанкционированному управлению клапаном | - | без блокирующего устройства |
| 33 | с блокирующим устройством |

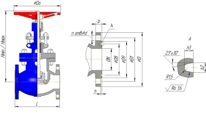
| DN | PN | L | D | d1 | H min | H max | D0 | Масса, кг |
| 15 | 6 10 16 25 40 63 100 | 85 | 23 | 9 | 150 | 160 | 85 | 1,9 |
| 20 | 89 | 28 | 12 | 160 | 170 | 85 | 2,4 | |
| 25 | 101 | 35 | 17 | 170 | 185 | 85 | 3,4 | |
| 32 | 126 | 44 | 23 | 240 | 255 | 100 | 7,5 | |
| 40 | 126 | 50 | 28 | 240 | 260 | 100 | 7,8 |

| DN | PN | L | D | H min | H max | D0 | Масса, кг |
| 50 | 6 10 16 | 203 | 60.3 | 309 | 350 | 200 | 20,0 |
| 65 | 216 | 75 | 306 | 330 | 250 | 34,0 | |
| 80 | 241 | 91 | 325 | 350 | 250 | 42,0 | |
| 100 | 292 | 117 | 328 | 363 | 300 | 50,0 | |
| 125 | 356 | 144 | 328 | 363 | 300 | 80,0 | |
| 150 | 406 | 172 | 420 | 470 | 350 | 103,0 | |
| 200 | 495 | 223 | 525 | 575 | 450 | 163,0 | |
| 50 | 25 | 267 | 60.3 | 256 | 279 | 200 | 25 |
| 65 | 292 | 75 | 301 | 342 | 200 | 37 | |
| 80 | 318 | 91 | 307 | 363 | 250 | 62 | |
| 100 | 356 | 117 | 395 | 431 | 250 | 103 | |
| 125 | 400 | 144 | 398 | 435 | 450 | 205 | |
| 150 | 444 | 172 | 535 | 640 | 450 | 218 | |
| 200 | 559 | 223 | 555 | 668 | 450 | 420 | |
| 50 | 40 | 267 | 60.3 | 345 | 375 | 200 | 25,0 |
| 65 | 292 | 76 | 345 | 410 | 200 | 42,0 | |
| 80 | 318 | 91 | 405 | 445 | 250 | 52,0 | |
| 100 | 356 | 117 | 415 | 445 | 250 | 66,0 | |
| 125 | 400 | 144 | 535 | 575 | 450 | 128,0 | |
| 150 | 444 | 172 | 610 | 670 | 450 | 138,0 | |
| 200 | 559 | 223 | 770 | 855 | 450 | 255,0 | |
| 50 | 63 | 292 | 60.3 | 360 | 415 | 200 | 38,0 |
| 65 | 330 | 76 | 375 | 425 | 250 | 58 | |
| 80 | 356 | 91 | 470 | 515 | 250 | 60,0 | |
| 100 | 432 | 117 | 480 | 515 | 350 | 105,0 | |
| 125 | 508 | 144 | 540 | 595 | 500 | 200 | |
| 150 | 559 | 172 | 795 | 855 | 550 | 215,0 | |
| 200 | 660 | 223 | 855 | 945 | 600 | 365,0 | |
| 50 | 100 | 292 | 60.3 | 360 | 415 | 200 | 38,0 |
| 65 | 330 | 76 | 375 | 425 | 300 | 55 | |
| 80 | 356 | 91 | 470 | 515 | 250 | 60,0 | |
| 100 | 432 | 117 | 480 | 515 | 350 | 105,0 | |
| 125 | 508 | 144 | 595 | 630 | 500 | 200 | |
| 150 | 559 | 172 | 795 | 855 | 550 | 215,0 | |
| 200 | 660 | 223 | 855 | 945 | 600 | 365,0 |

| DN | PN | L | D | D1 | D2 | n-d | h | b | d1 | Hmin | Hmax | D0 | Масса, кг |
| 15 | 6 | 145 | 80 | 55 | 40 | 4−11 | 2 | 14 | 9 | 150 | 160 | 85 | 2.7 |
| 20 | 153 | 90 | 65 | 50 | 4−11 | 2 | 12 | 160 | 170 | 85 | 3.5 | ||
| 25 | 165 | 100 | 75 | 60 | 4−11 | 2 | 17 | 170 | 185 | 85 | 5 | ||
| 32 | 196 | 120 | 90 | 70 | 4−14 | 2 | 16 | 23 | 240 | 255 | 100 | 10 | |
| 40 | 202 | 130 | 100 | 80 | 4−14 | 3 | 17 | 28 | 240 | 260 | 100 | 10.5 | |
| 15 | 10 | 155 | 95 | 65 | 47 | 4−14 | 2 | 14 | 9 | 150 | 160 | 85 | 3 |
| 20 | 165 | 105 | 75 | 58 | 4−14 | 2 | 12 | 160 | 170 | 85 | 4 | ||
| 25 | 181 | 115 | 85 | 68 | 4−14 | 2 | 17 | 170 | 185 | 85 | 5.5 | ||
| 32 | 210 | 135 | 100 | 78 | 4−18 | 2 | 16 | 23 | 240 | 255 | 100 | 11 | |
| 40 | 216 | 145 | 110 | 88 | 4−18 | 3 | 17 | 28 | 255 | 260 | 100 | 11.5 | |
| 15 | 16 | 155 | 95 | 65 | 47 | 4−14 | 2 | 14 | 9 | 150 | 160 | 85 | 3.5 |
| 20 | 165 | 105 | 75 | 58 | 4−14 | 2 | 12 | 160 | 170 | 85 | 4 | ||
| 25 | 181 | 115 | 85 | 68 | 4−14 | 2 | 17 | 170 | 185 | 85 | 5.5 | ||
| 32 | 210 | 135 | 100 | 78 | 4−18 | 2 | 16 | 23 | 240 | 255 | 100 | 11 | |
| 40 | 216 | 145 | 110 | 88 | 4−18 | 3 | 17 | 28 | 255 | 260 | 100 | 11.5 | |
| 15 | 25 | 155 | 95 | 65 | 47 | 4−14 | 2 | 16 | 9 | 150 | 160 | 85 | 3.5 |
| 20 | 161 | 105 | 75 | 58 | 4−14 | 2 | 12 | 160 | 170 | 85 | 4.5 | ||
| 25 | 177 | 115 | 85 | 68 | 4−14 | 2 | 17 | 170 | 185 | 85 | 6 | ||
| 32 | 216 | 135 | 100 | 78 | 4−18 | 2 | 18 | 23 | 240 | 255 | 100 | 11.5 | |
| 40 | 222 | 145 | 110 | 88 | 4−18 | 3 | 19 | 28 | 255 | 260 | 100 | 12 |

| DN | PN | L | D | D1 | D2 | D6 | n-d | h | h2 | b | d1 | H min | H max | D0 | Масса, кг |
| 15 | 155 | 95 | 65 | 47 | 40 | 4−14 | 2 | 3 | 16 | 9 | 150 | 160 | 85 | 3,5 | |
| 20 | 161 | 105 | 75 | 58 | 51 | 4−14 | 2 | 3 | 12 | 160 | 170 | 85 | 4,5 | ||
| 25 | 40 | 177 | 115 | 85 | 68 | 58 | 4−14 | 2 | 3 | 17 | 170 | 185 | 85 | 5,8 | |
| 32 | 216 | 135 | 100 | 78 | 66 | 4−18 | 2 | 3 | 18 | 23 | 240 | 255 | 100 | 11,5 | |
| 40 | 222 | 145 | 110 | 88 | 76 | 4−18 | 3 | 3 | 19 | 28 | 240 | 260 | 100 | 12,5 | |
| 15 | 181 | 105 | 75 | 47 | 40 | 4−14 | 2 | 3 | 18 | 9 | 150 | 160 | 85 | 4,2 | |
| 20 | 201 | 125 | 90 | 58 | 51 | 4−18 | 2 | 3 | 20 | 12 | 160 | 170 | 85 | 6,0 | |
| 25 | 63 | 217 | 135 | 100 | 68 | 58 | 4−18 | 2 | 3 | 22 | 17 | 170 | 185 | 85 | 8,0 |
| 32 | 250 | 150 | 110 | 78 | 66 | 4−22 | 2 | 3 | 24 | 23 | 240 | 255 | 100 | 14,0 | |
| 40 | 262 | 165 | 125 | 88 | 76 | 4−22 | 3 | 3 | 25 | 28 | 240 | 260 | 100 | 15,5 |

| DN | PN | L | D | D1 | D8 | D9 | n-d | h | h3 | b2 | b | d1 | H min | H max | D0 | Масса, кг |
| 15 | 100 | 181 | 105 | 75 | 35 | 55 | 4−14 | 2 | 6.5 | 9 | 20 | 9 | 150 | 160 | 85 | 4,4 |
| 20 | 195 | 125 | 90 | 45 | 58 | 4−18 | 2 | 6.5 | 9 | 22 | 12 | 160 | 170 | 85 | 6,4 | |
| 25 | 217 | 135 | 100 | 50 | 68 | 4−18 | 2 | 6.5 | 9 | 24 | 17 | 170 | 185 | 85 | 8,4 | |
| 32 | 250 | 150 | 110 | 65 | 78 | 4−22 | 2 | 6.5 | 9 | 23 | 240 | 255 | 100 | 14 | ||
| 40 | 266 | 165 | 125 | 75 | 88 | 4−22 | 3 | 6.5 | 9 | 26 | 28 | 240 | 260 | 100 | 16 | |
| 15 | 160 | 193 | 105 | 75 | 35 | 55 | 4−14 | 2 | 6.5 | 9 | 20 | 8 | 160 | 170 | 85 | 5 |
| 20 | 217 | 125 | 90 | 45 | 58 | 4−18 | 2 | 6.5 | 9 | 22 | 9 | 170 | 180 | 85 | 7,5 | |
| 25 | 242 | 135 | 100 | 50 | 68 | 4−18 | 2 | 6.5 | 9 | 24 | 14 | 240 | 255 | 100 | 13 | |
| 32 | 274 | 150 | 110 | 65 | 78 | 4−22 | 2 | 6.5 | 9 | 20 | 255 | 270 | 125 | 17,5 | ||
| 40 | 290 | 165 | 125 | 75 | 88 | 4−22 | 3 | 6.5 | 9 | 28 | 25 | 255 | 275 | 125 | 19,5 | |
| 15 | 200 | 197 | 120 | 82 | 40 | 55 | 4−22 | 2 | 6.5 | 9 | 26 | 8 | 160 | 170 | 85 | 6.5 |
| 20 | 215 | 130 | 90 | 45 | 58 | 4−22 | 2 | 6.5 | 9 | 28 | 9 | 170 | 180 | 85 | 8,5 | |
| 25 | 250 | 150 | 102 | 50 | 68 | 4−26 | 2 | 6.5 | 9 | 30 | 14 | 240 | 255 | 100 | 15,0 | |
| 32 | 274 | 160 | 115 | 65 | 78 | 4−26 | 2 | 6.5 | 9 | 32 | 20 | 255 | 270 | 125 | 20,5 | |
| 40 | 290 | 170 | 124 | 75 | 91 | 4−26 | 3 | 8 | 12 | 34 | 25 | 255 | 275 | 125 | 23 |

| DN | PN | L | D | D1 | D2 | n-d | h | b | H min | H max | Dо | Масса, кг |
| 50 | 6 | 203 | 140 | 110 | 90 | 4−14 | 3 | 17 | 309 | 350 | 200 | 24 |
| 65 | 216 | 160 | 130 | 100 | 4−14 | 3 | 18 | 306 | 329 | 200 | 37 | |
| 80 | 241 | 185 | 150 | 128 | 4−18 | 3 | 20 | 325 | 350 | 250 | 42 | |
| 100 | 292 | 205 | 170 | 148 | 4−18 | 3 | 20 | 328 | 363 | 350 | 60 | |
| 125 | 356 | 235 | 200 | 178 | 8−18 | 3 | 22 | 328 | 363 | 350 | 100 | |
| 150 | 406 | 260 | 225 | 202 | 8−18 | 3 | 24 | 420 | 470 | 350 | 106 | |
| 200 | 495 | 315 | 280 | 258 | 8−18 | 3 | 26 | 525 | 575 | 350 | 165 | |
| 50 | 10 | 203 | 160 | 125 | 102 | 4−18 | 3 | 17 | 309 | 350 | 200 | 24 |
| 65 | 216 | 180 | 145 | 122 | 4−18 | 3 | 18 | 306 | 329 | 200 | 37 | |
| 80 | 241 | 195 | 160 | 133 | 4−18 | 3 | 20 | 325 | 350 | 250 | 42 | |
| 100 | 292 | 215 | 180 | 158 | 8−18 | 3 | 20 | 328 | 363 | 350 | 60 | |
| 125 | 356 | 245 | 210 | 184 | 8−18 | 3 | 22 | 328 | 363 | 350 | 100 | |
| 150 | 406 | 280 | 240 | 212 | 8−22 | 3 | 24 | 420 | 470 | 350 | 106 | |
| 200 | 495 | 335 | 295 | 268 | 8−22 | 3 | 26 | 525 | 575 | 350 | 165 | |
| 50 | 16 | 203 | 160 | 125 | 102 | 4−18 | 3 | 17 | 309 | 350 | 250 | 24 |
| 65 | 216 | 180 | 145 | 122 | 4−18 | 3 | 18 | 306 | 329 | 200 | 37 | |
| 80 | 241 | 195 | 160 | 133 | 4−18 | 3 | 20 | 325 | 350 | 250 | 42 | |
| 100 | 292 | 215 | 180 | 158 | 8−18 | 3 | 20 | 328 | 363 | 350 | 60 | |
| 125 | 356 | 245 | 210 | 184 | 8−18 | 3 | 22 | 328 | 363 | 350 | 100 | |
| 150 | 406 | 280 | 240 | 212 | 8−22 | 3 | 24 | 420 | 470 | 350 | 106 | |
| 200 | 495 | 335 | 295 | 268 | 12−22 | 3 | 26 | 525 | 575 | 350 | 165 | |
| 50 | 25 | 267 | 160 | 125 | 102 | 4−18 | 3 | 20 | 257 | 280 | 200 | 30 |
| 65 | 292 | 180 | 145 | 122 | 8−18 | 3 | 22 | 318 | 342 | 200 | 57 | |
| 80 | 318 | 195 | 160 | 133 | 8−18 | 3 | 22 | 347 | 376 | 250 | 62 | |
| 100 | 356 | 230 | 190 | 158 | 8−22 | 3 | 24 | 395 | 431 | 350 | 80 | |
| 125 | 400 | 270 | 220 | 184 | 8−26 | 3 | 28 | 328 | 363 | 350 | 155 | |
| 150 | 444 | 300 | 250 | 212 | 8−26 | 3 | 30 | 534 | 582 | 450 | 165 | |
| 200 | 559 | 360 | 310 | 278 | 12−26 | 3 | 34 | 600 | 667 | 450 | 297 |

| DN | PN | L | D | D1 | D2 | D6 | n-d | h | h2 | b | H min | H max | D0 | Масса, кг |
| 50 | 40 | 267 | 160 | 125 | 102 | 88 | 4−18 | 3 | 3 | 20 | 257 | 279 | 200 | 30 |
| 65 | 292 | 180 | 145 | 122 | 110 | 8−18 | 3 | 3 | 22 | 318 | 350 | 200 | 57 | |
| 80 | 318 | 195 | 160 | 133 | 121 | 8−18 | 3 | 3 | 347 | 376 | 250 | 62 | ||
| 100 | 356 | 230 | 190 | 158 | 150 | 8−22 | 3 | 3 | 24 | 395 | 431 | 350 | 80 | |
| 125 | 400 | 270 | 220 | 184 | 176 | 8−26 | 3 | 3 | 28 | 362 | 471 | 450 | 155 | |
| 150 | 444 | 300 | 250 | 212 | 204 | 8−26 | 3 | 3 | 30 | 534 | 611 | 450 | 165 | |
| 200 | 559 | 375 | 320 | 285 | 260 | 12−30 | 3 | 3 | 38 | 600 | 667 | 450 | 297 | |
| 50 | 63 | 292 | 175 | 135 | 102 | 88 | 4−22 | 3 | 3 | 26 | 280 | 330 | 200 | 45 |
| 65 | 330 | 200 | 160 | 122 | 110 | 8−22 | 3 | 3 | 28 | 290 | 347 | 300 | 55 | |
| 80 | 356 | 210 | 170 | 133 | 121 | 8−22 | 3 | 3 | 30 | 320 | 408 | 250 | 75 | |
| 100 | 432 | 250 | 200 | 158 | 150 | 8−26 | 3 | 3 | 32 | 382 | 480 | 350 | 130 | |
| 125 | 508 | 295 | 240 | 184 | 176 | 8−30 | 3 | 3 | 36 | 470 | 595 | 400 | 252 | |
| 150 | 559 | 340 | 280 | 212 | 204 | 8−33 | 3 | 3 | 38 | 820 | 1030 | 550 | 265 | |
| 200 | 660 | 405 | 345 | 285 | 260 | 12−33 | 3 | 3 | 44 | 950 | 1150 | 600 | 440 |

| DN | PN | L | D | D1 | D8 | D9 | n-d | h | h3 | b2 | b | H min | H max | D0 | Масса, кг |
| 50 | 100 | 292 | 195 | 145 | 85 | 102 | 4−26 | 3 | 8 | 12 | 28 | 270 | 330 | 200 | 45 |
| 65 | 330 | 220 | 170 | 110 | 140 | 8−26 | 3 | 8 | 12 | 32 | 282 | 347 | 250 | 55 | |
| 80 | 356 | 230 | 180 | 115 | 150 | 8−26 | 3 | 8 | 12 | 34 | 330 | 408 | 250 | 75 | |
| 100 | 432 | 265 | 210 | 145 | 175 | 8−30 | 3 | 8 | 12 | 38 | 375 | 480 | 350 | 130 | |
| 125 | 508 | 310 | 250 | 175 | 210 | 8−33 | 3 | 8 | 12 | 42 | 472 | 595 | 450 | 270 | |
| 150 | 559 | 350 | 290 | 205 | 250 | 12−33 | 3 | 8 | 12 | 46 | 858 | 1030 | 450 | 350 | |
| 200 | 660 | 430 | 360 | 265 | 285 | 12−39 | 3 | 8 | 12 | 54 | 955 | 1150 | 450 | 625 | |
| 50 | 160 | 368 | 195 | 145 | 95 | 115 | 4−26 | 3 | 8 | 12 | 30 | 525 | 570 | 350 | 87 |
| 65 | 419 | 220 | 170 | 110 | 140 | 8−26 | 3 | 8 | 12 | 34 | 512 | 580 | 400 | 100 | |
| 80 | 381 | 230 | 180 | 130 | 150 | 8−26 | 3 | 8 | 12 | 36 | 430 | 515 | 350 | 125 | |
| 100 | 457 | 265 | 210 | 145 | 175 | 8−30 | 3 | 8 | 12 | 40 | 618 | 715 | 450 | 185 | |
| 125 | 559 | 310 | 250 | 190 | 210 | 8−33 | 3 | 8 | 12 | 44 | 886 | 1010 | 450 | 255 | |
| 150 | 610 | 350 | 290 | 205 | 250 | 12−33 | 3 | 10 | 14 | 50 | 895 | 1025 | 450 | 435 | |
| 200 | 737 | 430 | 360 | 275 | 315 | 12−39 | 3 | 11 | 17 | 60 | 1030 | 1230 | 600 | 730 | |
| 50 | 200 | 368 | 210 | 160 | 95 | 129 | 8−26 | 3 | 8 | 12 | 40 | 520 | 570 | 450 | 87 |
| 65 | 419 | 260 | 203 | 130 | 167 | 8−30 | 3 | 8 | 12 | 48 | 532 | 580 | 400 | 100 | |
| 80 | 470 | 290 | 230 | 160 | 190 | 8−33 | 3 | 8 | 12 | 54 | 469 | 515 | 400 | 250 | |
| 100 | 546 | 360 | 292 | 190 | 245 | 8−39 | 3 | 8 | 12 | 66 | 626 | 715 | 400 | 435 | |
| 125 | 673 | 385 | 318 | 205 | 271 | 12−39 | 3 | 10 | 14 | 76 | 908 | 1025 | 450 | 440 | |
| 150 | 705 | 440 | 360 | 240 | 306 | 12−45 | 3 | 11 | 17 | 62 | 965 | 1115 | 600 | 540 | |
| 200 | 832 | 535 | 440 | 305 | 380 | 12−52 | 3 | 11 | 17 | 92 | 1012 | 1200 | 600 | 970 |
Смотрите также
![]() | Завод «Водоприбор», Малоярославец Задвижка ЗВК-50 (DN 50) |
![]() | Завод «Водоприбор», Малоярославец Соединительный узел ДРК-100 |
Змс Знамя Труда, Санкт-Петербург Клапаны запорные | |
![]() | Алсо, Челябинск Кран шаровый Запорно-регулирующий под приварку (универсальный) |